Seaman.com.ua > Библиотека > Безопасность на судне > Заделка пробоин деревянными пробками, клиньями и болтами с резиновыми прокладками и шайбой. (база моряков клуб морской форум моряк crewing крюинг вакансии матрос seafarer боцман корабли работа для моряков)
моряк форма матрос крюинг морской механик капитан вакансии работа рейс скачать трудоустройство ukraine механик штурман судоводитель корабль порт сертификация плавсостав под флагом
Портал №1 для украинских моряков    Главная / Библи... / Безопас... / Заделка ...
О проекте
Обратная связь
 
Перейти на главную работа моряка трудоустройство моряков страницу
 
 

 
Статьи
Библиотека
Программы
Обучение
Полезное
Вакансии
Компании
Форум
 
 
работя для моряков морской скачать крюинг моряк Библиотека
 
Maritime crewing navigation seafarer Ссылки по теме
 

Заделка пробоин деревянными пробками, клиньями и болтами с резиновыми прокладками и шайбой.




Мелкие пробоины круглой или близкой к ней форме заделывают сосновыми пробками (рис. 1), если возможно — применяют болты с резиновыми прокладками и шайбой (рис. 2).

Рис. 1. Заделка пробоины пробкой. 1 - пробка; 2 - обмотка; 3 - обшивка корпуса.

Пробоины резаного характера, т.е. трещины, можно заделывать сосновыми клиньями. Трещины в корпусе при заделке представляют наибольшую сложность в связи с возможностью их дальнейшего распространения. При работе с ними рекомендуется, зачистив место повреждения и определив концы трещины, засверливать оконечности сверлом диаметром 10—15 мм (если невозможно использовать электрическую дрель из-за опасности короткого замыкания, необходимо применить пневмодрель).

Рис. 2. Установка болта. 1 - болт; 2 - резиновая прокладка; 3 - шайба.

Трещины заделывают, начиная с наиболее широкой части, с помощью сосновых клиньев (рис. 3) с применением кудели. Окончательная заделка и устранение фильтрации достигаются забивкой более мелких клиньев и пробок, а самые узкие места конопатят куделью.

Рис. 3. Устранение водотечности при помощи клиньев. 1 - сосновый клин; 2 - пробка; 3 - кудель;

Обворачивать клинья или пробки ветошью, смазанной суриком или техническим жиром, рекомендуется только при заделке пробоин на глубине менее 4 м, так как есть опасность, что гидростатический напор воды выбьет их из пробоины. Для надежности заделки рекомендуется, выровняв концы клиньев и пробок, зафиксировать их на месте с помощью деревянного щита с упором.

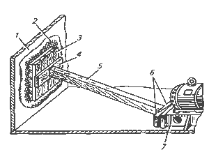
Рис. 4. Заделка пробоин подушкой с куделью. 1 - обшивка; 2 - подушка с куделью; 3, 4 - доски; 5 - упор (брус); 6 - клинья; 7 - фундамент механизма.

Многочисленные небольшие трещины или пробоины круглой формы, находящиеся близко одна от другой и не имеющие загнутых кромок внутрь отсека, заделывают подушкой с куделью и деревянными досками, подкрепленные брусьями или раздвижным упором (рис. 4).

Вернуться к оглавлению по теме "Безопасность"


 



 
   Статьи Библиотека |  Программы Обучение Полезное Вакансии Компании Форум
© Seaman.com.ua. Все права защищены.  

Разработка сайта: ArtAdmires